產地類別 國產
皮帶機專用FJ-PP-A-Ⅱ帶地址編碼跑偏開關是在普通跑偏開關的基礎上了XLline現場總線技術,實現了地址編碼功能。適用于較長帶式輸送機作為遠程監測現場設備的運行情況,解決了工人尋找故障點所帶來的不便。
【詳細說明】
皮帶機專用FJ-PP-A-Ⅱ帶地址編碼跑偏開關是在普通跑偏開關的基礎上了XLline現場總線技術,實現了地址編碼功能。適用于較長帶式輸送機作為遠程監測現場設備的運行情況,解決了工人尋找故障點所帶來的不便。
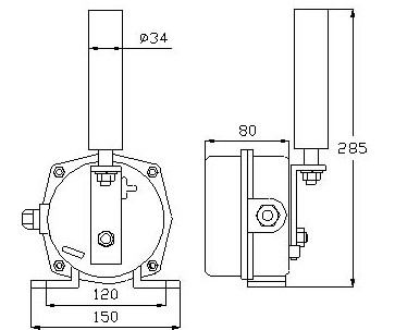
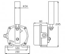
地址編碼型兩級跑偏開關與綜合保護儀通過XLline現場總線方式連接, 兩級跑偏開關工作原理 兩級跑偏開關安裝在皮帶輸送機兩側、距離皮帶機首尾端部1~3m的地方。當皮帶跑偏時,皮帶邊緣壓向檔輪,迫使檔輪偏轉,使限位開關動作。為減少檔輪與皮帶的摩擦,檔輪的本體是由軸承制作的。 當發生輕微跑偏事故時(15°),兩級跑偏開關的第一組觸點動作,發出事故預告信號。 當發生嚴重跑偏事故時(30°),兩級跑偏開關的第二組觸點動作,可使輸送機自動停車。,安裝說明 1、兩級跑偏開關底座兩邊各有Ф12mm孔,在皮帶機旁角鐵架鉆Ф12mm孔,用M10×30mm螺絲緊固跑偏開關。 2、安裝跑偏開關應選擇輸送裝置易出現跑偏的位置處安裝,參考應用單位工藝要求,同時要考慮皮帶與擋輪的有效間距和推力,建議皮帶與檔輪間的安裝距離為120-160mm。 3、安裝距離:建議每50米安裝一對跑偏開關。 4、跑偏開關出廠時配有長度0.5米四芯橡套電纜,芯線上配有1、2、3、4線號,其中1、2為常開接點是一級報警信號,3、4為常閉接點是二級停機信號。,支持128個地址,且同一地址可多個開關同時使用,其特點是只需一條兩芯電纜即可同時完成數據傳輸且無需電源供電。
皮帶機專用FJ-PP-A-Ⅱ帶地址編碼跑偏開關主要技術參數:
觸點式及數量
兩組常開、常閉接點
AC380V
跑偏 30度
二級跑偏 60度
工作電壓 0V-450VAC/C
復位方式 手動
防護等級 IP67
動作力 10KG
可靠性 >10萬次
環境溫度 -40~50度
相對濕度 0-95
大氣壓力 80~110KPa

是用于檢測皮帶輸送機運行過程中輸送帶跑偏程度并進行的一種保護裝置,也用于在皮帶嚴重跑偏時自動觸發緊急停機。跑偏開關按照一定間隔(約50m)固定安裝于皮帶輸送機兩側支架上,使用與安裝:防偏開關可固定在輸送機縱梁頂部或底部,動作桿距皮帶邊緣約25mm。通常安裝在皮帶兩側距頭部或尾部0.3-2米的地方。當皮帶跑偏時,迫使動作桿偏離,觸動報警開關。兩級跑偏開關如果繼續偏離,觸動別一組開關,輸送機就會保護性停機。,跑偏開關的滾輪部分在受到偏離運轉的輸送帶的邊沿擠壓后產生偏轉,當滾輪偏轉到一定角度時觸發開關接點動作。
用戶須知
用戶若訂購我廠提供的安裝支架,請提供膠帶的槽角。

E68-M5B4S、E68-M5B34S、E68-M1S、E68-M2S、E69-50B1S、E69-50B2S、E69-50B12S、E69-50B3S、E69-50B4S、E69-50B34S、E69-R2B1S、E69-R2B2S、E69-R2B12S、E69-R2B3S、E69-R2B4S、E69-R2B34S、E69-M5B1S、E69-M5B2S、E69-M5B12S、E69-M5B3S、E69-M5B4S、E69-M5B34S、E51-10B1S、E51-10B2S、E51-10B3S、E51-10B4S、E51-R2B1S、E51-R2B2S
LR30XBN 15NO-E2 P728 10 UB:10-30VC Le:200mA NPN
水泥廠專用速度開關XSA-V
聲光器GST-H
速度開關WEM-FSU
BIM-G18-Y1/S926 9m速度檢測傳感器
速度開關WP2035
速度開關_X-TC-A2/10mm/埋入式/二線
速度開關JXO-60
料位開關SBNZX-160H/K220VAC
拉線開關BG-L11-JH
速度開關LY1Z1G-B/2.7+3+
位置控制開關THP-12-30220V 10A
位置控制開關T.441-11Y-ue-966
位置控制開關T.064-21Y-R 1
位置控制開關Ni8-m18-az3x
位置控制開關Ni8-M18-A4X
位置控制開關IIM211
速度開關60-23p
拉線開關YHL-II220VAC
風力機備件變槳接近開關IFL 10-30L-10TPB28.1
Copyright © 山東卓信機械有限公司 版權所有 魯ICP備12019670號
全國服務電話:0537-2839666 傳真:0537-2228358 百度地圖 打滑開關
公司地址:山東省濟寧高新經濟技術開發區 音叉開關