防爆打滑開關 發布時間:2018-05-28 已獲點擊:185 詳細說明 YKDH-II打滑開關選型 此款速度檢測器用于輸送機帶速" />
產品型號:YKDH-II
此款速度檢測器用于輸送機帶速進行檢測的新型裝置,對帶速進行實時檢測,已廣泛應用于輸送系統中膠帶上,為膠帶機的安全運行提供了可靠的檢測手段。

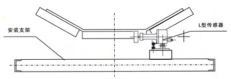
需水平安裝在上行膠帶和下行膠帶間的輸送機支架上,使觸輪與膠帶表面有一定的壓力防止發生觸輪跳動而產生的誤動作。當觸輪隨膠帶機運行而帶動內的脈沖盤,在脈沖盤旋轉時傳感器的磁應信號輸入到控制電路中去,經放大,然后進行計數,其計數值與預置數比較,判斷膠帶的帶速,即:正常速度、打滑或超速等。同時,執行電路輸出相應的開關信號。
YKDH-II打滑開關選型【山東卓信】

結構特征
本機由觸輪、脈沖盤、電子脈沖卡管、殼體等組成,觸輪采用壓鑄鋁制造,表面銑槽有耐磨打滑用,殼體采用鋁鑄造,連接處配有密封圈,打滑開關是一種經濟、可靠性強、對軸轉速及其他旋轉裝置簡單通用的監測裝置,當檢測到目前轉速信號低于或高于正常轉速范圍,開關輸出一組開關信號,以供報警或停機。打滑開關無運動部件、無磨損、安全壽命長,一體化結構,集中的控制裝置,設定或故障檢修簡單。外殼彩用防水防塵的設計兩螺固定殼體,可直接安裝在惡劣環境中使用。面板操作說明打滑開關是氣動元件、礦用電器、接近開關、光電開關、霍爾傳感器、磁性開關、速度傳感器、齒輪傳感器、兩級跑偏開關、雙向拉繩開關、打滑開關、皮帶打滑檢測裝置、料位監測器、速度檢測器、打滑開關、堆煤開關、煤流開關、傾斜開關、撕裂開關、皮帶輸送裝置控制柜、聲光報警器等工控電器,集開發、制造、銷售與一體。,即使本機減輕重量與較好防水性能:本機內開關采用常閉型,若帶速低于正常速度80%即可跳閘或停機。
打滑開關技術指標:
1、工作電源:AC220V 頻率:50-60Hz
2、溫度范圍:-20℃~+70℃
3、啟動延時:約10秒鐘
4、檢測距離:從檢測器到感應塊之間 距離Sn:20mm
5、觸點容量:240V/AC,3A,輸出值一組常開,一組常閉
6、轉 速:30-100轉/分
安裝使用與接線
安裝時,非接觸欠速(打滑)開關是一種經濟、可靠性強、對軸轉速及其它旋轉裝置簡單通用的監測裝置。當監測到當前轉速信號低于或高于正常轉速范圍開關輸出一組開關信號,以供報警或停機。外殼采用防水防塵設計可直接安裝在惡劣環境中使用。非接觸接近探測器,壽命長、維護費用低,兩螺栓固定,確保安裝簡單,一體化結構,集中的控制裝置,設定或故障檢修簡單,無運動部件、無磨損、安全壽命長。,打滑開關使用安裝:感應面與開關閘的距離4mm為佳,感應點可以是從動輪處凸出(面)部分(鐵類),也可以采用凹面作為感應面。如果從動輪側面無凹凸面,可以在從動輪內側骨架上焊接一厚度為7mm鐵片作感應面。感應面面積必須大于開關感應面(出廠時已配感應面)注:有些輸送機從動輪無法安裝的,打滑開關可安裝在于膠帶緊密接解且在膠帶運行中不會出現脫離膠帶能正常運轉的轉軸或滋輪處。某些安裝位置可能需要現場制作安裝支架,特殊情況下,如需要從新調節開關速度是時,打滑開關在安裝好開關后,啟運輸送機。在輸送機正常速度下逆時針方向調整開方微開關內部電位器,調整到動作指示燈連接方式:接線方式參照標牌所標線色。,可按下述要求并滿足現場使用條件安裝在帶式運輸機上膠帶的下面,安裝后應保證膠帶有料情況下使打滑檢測器與膠帶面平行,同時膠帶無料運轉時檢測器觸輪與膠帶面應可靠接觸,非接觸欠速(打滑)開關是一種經濟、可靠性強、對軸轉速及其它旋轉裝置簡單通用的監測裝置。當監測到當前轉速信號低于或高于正常轉速范圍開關輸出一組開關信號,以供報警或停機。外殼采用防水防塵設計可直接安裝在惡劣環境中使用。非接觸接近探測器,壽命長、維護費用低,兩螺栓固定,確保安裝簡單,一體化結構,集中的控制裝置,設定或故障檢修簡單,無運動部件、無磨損、安全壽命長。,且安裝位置保證在振動最小和膠帶抖動最小的地方。當采用檢測器輸出軸和從動滾筒軸連接檢測膠帶實際帶速的方法時,可按安裝示意圖并選用柔性連軸器以保證產品工作正常。使用時只要將產品按安裝示意圖安裝在相應的位置上即可,我廠提供的產品均是按用戶訂貨時提出的要求生產制造的。由于理論上的帶速和實際膠帶運行速度有差異,用戶屆時可按我廠提供調整辦法適當的調整以切實適合正常工作狀態。
Copyright © 山東卓信機械有限公司 版權所有 魯ICP備12019670號
全國服務電話:0537-2839666 傳真:0537-2228358 百度地圖 打滑開關
公司地址:山東省濟寧高新經濟技術開發區 音叉開關