打滑檢測裝置 發布時間:2019-02-25 已獲點擊:78 詳細說明 DH-3-A皮帶打滑檢測裝置優質服務商 DH" />
產品型號:DH-3-A
DH-3-A打滑檢測裝置工作原理:當觸輪和運動的膠帶以線速運動時,檢測器通過觸輪與膠帶緊密接觸。本裝置內部檢測傳感器由紅外線收發光源不時遮擋,輸出脈沖信號,由光電隔后進行微計數單元,同時又反映膠帶的實際帶速。膠帶的運行信息通過紅外線光電傳感器輸入單片機脈沖信號,單片機接到信號后進行運算判斷處理,對運行的膠帶失速情況進行監控,當運行的膠帶速度低于正常速度的25-30%時,發出開關信號,用戶可利用這一開關信號,自己的控制網絡實現失速停機,防止由膠帶打滑而造成的生產事故。

DH-3-A打滑檢測器概述
DH-3-A型打滑檢測器用于檢測帶式運輸機在運行中的膠帶與主動滾筒之間的打滑,防止打滑所造成的惡性事故,該檢測器還可用于多條膠帶機聯鎖啟動和停機,工作原理:DH系列非接觸打滑開關是通過檢測其探頭處電容的周期性變化工作的。如果被傳動軸、輪的端面或圓周面存在“不平整處",只要將打滑開關探頭對著有不平整處的部位安裝即可;如果找不到“不平整處"(軸、輪的端面平整且圓周面均勻光滑),只需在軸、輪的檢測處人為制造“不平整點"(在被檢測的面上加貼一小塊薄金屬片)即可。當電動機轉動時,通過轉動裝置驅使被傳動軸、輪轉動,打滑開關檢測到探頭電容周期變化時保持閉合狀態。當設備發生卡轉、堵轉、皮帶打滑、傳動帶脫落等故障時,被傳動軸將慢轉或停轉,打滑開關檢測到探頭電容的變化周期明顯變長,此周期如超過正常變化周期的兩倍之多,打滑開關將由閉合狀態轉為斷開。打滑開關如按“設備保護接線參考圖"接線時,可用來保護設備;如按“檢測轉動/停轉接線參考圖"接線時,可用來檢測“轉動"。,低速抱閘保護。
DH-3-A打滑開關使用條件及技術參數
工作電壓:AC220V
環境溫度:-35oC ~+60oC
相對濕度:不大于95% (25oC時)
防護等級:IP67
工作位置:帶式運輸機上膠帶下面。 在膠帶機起車或停機過程中應不投入或投入無效。
輸出接點數量:一常開、一常閉一組轉換接點。
觸點容量:AC380V 3A
動作方向:雙向
DH-3-A打滑開關安裝使用與接線
1、安裝
DH-3-A型打滑檢測器安裝時,可按下述要求并滿足現場使用條件安裝在帶式運輸機上膠帶的下面,安裝后應保證膠帶有料情況下使打滑檢測器與膠帶面平行,同時膠帶無料運轉時檢測器觸輪與膠帶面應可靠接觸,工作原理:DH系列非接觸打滑開關是通過檢測其探頭處電容的周期性變化工作的。如果被傳動軸、輪的端面或圓周面存在“不平整處",只要將打滑開關探頭對著有不平整處的部位安裝即可;如果找不到“不平整處"(軸、輪的端面平整且圓周面均勻光滑),只需在軸、輪的檢測處人為制造“不平整點"(在被檢測的面上加貼一小塊薄金屬片)即可。當電動機轉動時,通過轉動裝置驅使被傳動軸、輪轉動,打滑開關檢測到探頭電容周期變化時保持閉合狀態。當設備發生卡轉、堵轉、皮帶打滑、傳動帶脫落等故障時,被傳動軸將慢轉或停轉,打滑開關檢測到探頭電容的變化周期明顯變長,此周期如超過正常變化周期的兩倍之多,打滑開關將由閉合狀態轉為斷開。打滑開關如按“設備保護接線參考圖"接線時,可用來保護設備;如按“檢測轉動/停轉接線參考圖"接線時,可用來檢測“轉動"。,且安裝位置保證在振動小和膠帶抖動小的地方。當采用檢測器輸出軸和從動滾筒軸連接檢測膠帶實際帶速的方法時,可按安裝示意圖并選用柔性連軸器以保證產品工作正常。
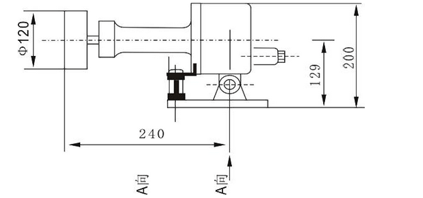
具體安裝詳見安裝示意圖:

2、使用與接線
使用單位在使用DH-3-A型打滑檢測器時只要將產品按安裝示意圖安裝在相應的位置上即可,我廠提供的產品均是按用戶訂貨時提出的要求生產制造的。由于理論上的帶速和實際膠帶運行速度有差異,用戶屆時可按我廠提供調整辦法適當的調整以切實適合正常工作狀態,用戶接線時按接線示意圖正確接線即可。
DH-3-A打滑開關訂貨須知
1、在訂貨時請注明產品型號、名稱和數量。
2、請說明膠帶機型號、帶寬、帶速和打滑率。
3、若用戶將打滑檢測器用于低速保護和低速抱閘檢測,使用時須將低速抱閘額值和超數保護額定值注明以便調試.
DH-3-A打滑檢測儀
服務宗旨:信譽、貨真價實、服務優質、交易公平、互惠互利、共同發展
我們所追求的是:
1.全面的產品,使客戶有多樣選擇,及滿足所有的需要,打滑開關使用安裝:感應面與開關閘的距離4mm為佳,感應點可以是從動輪處凸出(面)部分(鐵類),也可以采用凹面作為感應面。如果從動輪側面無凹凸面,可以在從動輪內側骨架上焊接一厚度為7mm鐵片作感應面。感應面面積必須大于開關感應面(出廠時已配感應面)注:有些輸送機從動輪無法安裝的,打滑開關可安裝在于膠帶緊密接解且在膠帶運行中不會出現脫離膠帶能正常運轉的轉軸或滋輪處。某些安裝位置可能需要現場制作安裝支架,特殊情況下,如需要從新調節開關速度是時,打滑開關在安裝好開關后,啟運輸送機。在輸送機正常速度下逆時針方向調整開方微開關內部電位器,調整到動作指示燈連接方式:接線方式參照標牌所標線色。,不致東拼西湊來完成所有的采購需求。
2.良好的品質,使客戶銷售出去的產品有信心,避免了因為小零件的配套而整體退貨。
3.合理的價格,市場機制合理,使得產品銷售的性價比得以提高。
4.準時的交期,配合客戶的需求,以避免客戶因為零組件的延誤交貨而錯失商機。
5.專業的技術,從事磁性開關17年的生產經驗,及國外大廠OEM生產技術來支持客戶的需求。
6.親切的服務,打滑開關是一種經濟、可靠性強、對軸轉速及其他旋轉裝置簡單通用的監測裝置,當檢測到目前轉速信號低于或高于正常轉速范圍,開關輸出一組開關信號,以供報警或停機。打滑開關無運動部件、無磨損、安全壽命長,一體化結構,集中的控制裝置,設定或故障檢修簡單。外殼彩用防水防塵的設計兩螺固定殼體,可直接安裝在惡劣環境中使用。面板操作說明打滑開關是氣動元件、礦用電器、接近開關、光電開關、霍爾傳感器、磁性開關、速度傳感器、齒輪傳感器、兩級跑偏開關、雙向拉繩開關、打滑開關、皮帶打滑檢測裝置、料位監測器、速度檢測器、打滑開關、堆煤開關、煤流開關、傾斜開關、撕裂開關、皮帶輸送裝置控制柜、聲光報警器等工控電器,集開發、制造、銷售與一體。,自開始建立供銷關系,直至后續的產品服務,我們非常樂意提供服務
(以上絕非口號!而是敝公司積極落實在產品及客戶之間,且已在國內外建立了相當良好的口碑!)
Copyright © 山東卓信機械有限公司 版權所有 魯ICP備12019670號
全國服務電話:0537-2839666 傳真:0537-2228358 百度地圖 打滑開關
公司地址:山東省濟寧高新經濟技術開發區 音叉開關